Электросхемы КПЛ 5-30 проекта 81040

Чертежи, электросхемы, общение...
rusloff
Сообщения: 51
Зарегистрирован: 26 май 2017, 20:29

Re: Электросхемы КПЛ 5-30 проекта 81040

Сообщение rusloff »

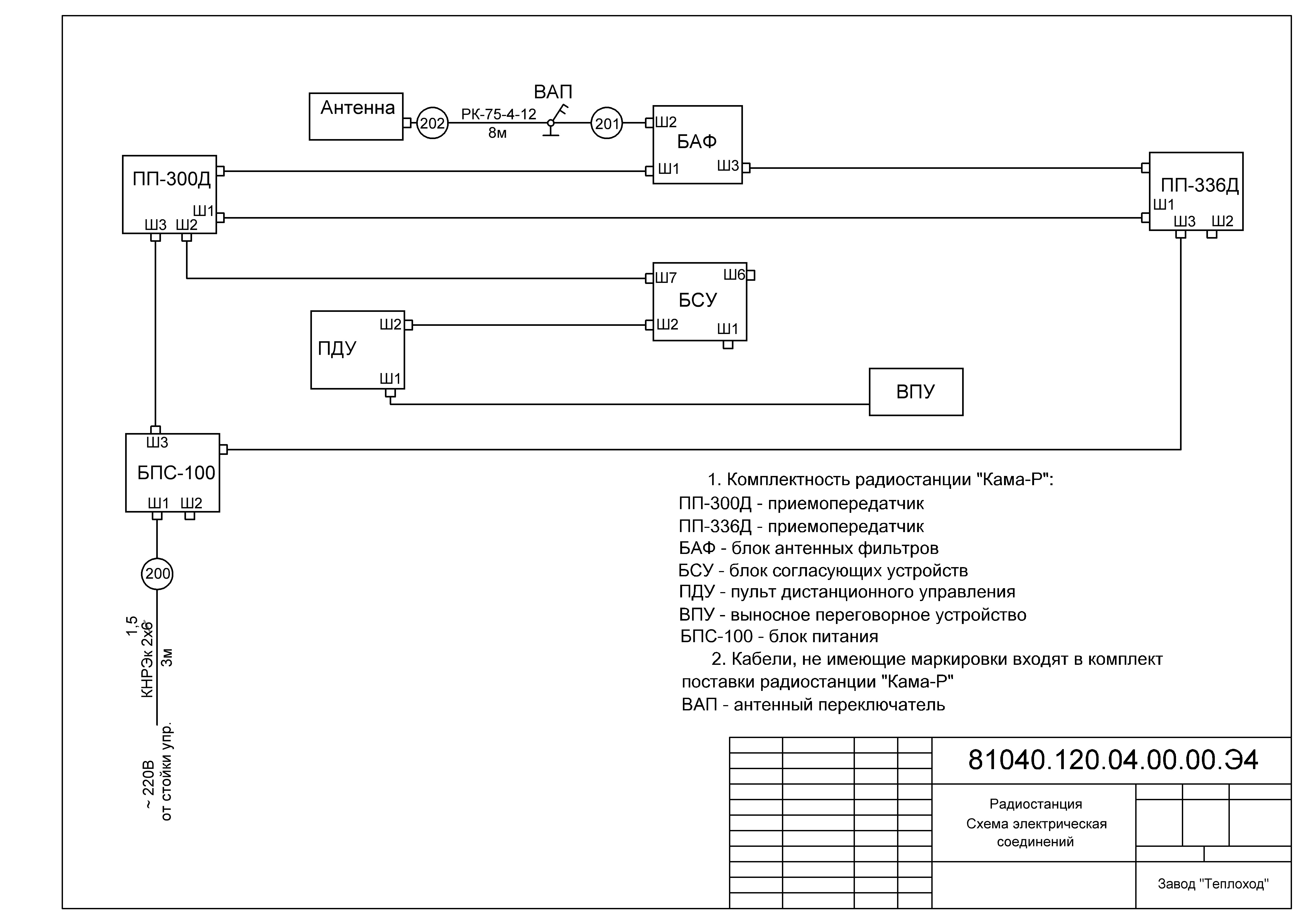
Радиостанция Кама-Р
81040.120.04.00.00.Э4.JPG
Ant-poc
Сообщения: 6
Зарегистрирован: 12 авг 2023, 15:21

Re: Электросхемы КПЛ 5-30 проекта 81040

Сообщение Ant-poc »

Функциональное назначение аппаратов
Вложения
Функциональное назначение аппаратов (1).jpg
rusloff
Сообщения: 51
Зарегистрирован: 26 май 2017, 20:29

Re: Электросхемы КПЛ 5-30 проекта 81040

Сообщение rusloff »

Сеть переносного освещения 12В
81040-64-6Э6.JPG
rusloff
Сообщения: 51
Зарегистрирован: 26 май 2017, 20:29

Re: Электросхемы КПЛ 5-30 проекта 81040

Сообщение rusloff »

81040-64-3Э6 Сеть основного освещения https://disk.yandex.ru/i/XTuxGBDlw3U5gg
81040-65-3Э0 Сигнализация пожарная https://disk.yandex.ru/i/jOf-7Jnp2s4jqg
81040-65-5Э4 Сигнализация давления систем пожаротушения https://disk.yandex.ru/i/j_5LL2JnC0Cipw
81040-68-3Э4 Контроль и сигнализация работы ДГ https://disk.yandex.ru/i/wCj6AwWssh6zww
81040-68-4Э0 Зарядка АКБ https://disk.yandex.ru/i/ft3VueFCMkirfw
Р108-68-7Э3 Автоматизация ДГА-50-9 https://disk.yandex.ru/i/pYj2u8OZKnIbcg
Ответить